环形接近开关-电感式

当前位置: 首页 > 产品展示 > 接近开关 > 环形接近开关-电感式

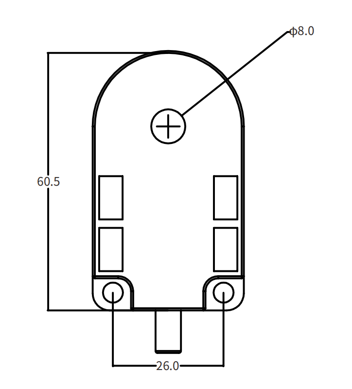
SIR-08-H1 Φ8孔径 环形接近开关

产品参数
品牌:STUOB/思拓邦
型号:SIR-08-H1
检测孔径:8mm
工作电压:10-30V
输入信号:NPN常开/常闭
响应频率:100Hz
防护等级:IP67
短路保护:有
检测方向:中间
检测物体:金属物体
环境温度:-25~+70°C
外壳材质:塑壳
产品特点

电感式,⾦属限位传感器磁性感应

标配三个保护电路

浪涌保护电流⼁短路保护⼁极性反接保护

动作指示灯多⻆度清晰可见

响应频率快,抗干扰能力强

突出的耐冲击/振动性

专业材质罐充,防水防油耐⾼温

稳定传输⼁结实耐用⼁防止缠绕


产品选型

image.png

详细参数

   种类    孔径3高速环形    孔径5高速环形    孔径6高速环形    孔径8高速环形
         型号
       项目
   NPN 输出    SIR-03-H1(常开常闭)    SIR-05-H1(常开常闭)    SIR-06-H1(常开常闭)    SIR-08-H1(常开常闭)
   PNP 输出    SIR-03-P1(常开常闭)    SIR-05-P1(常开常闭)    SIR-06-P1(常开常闭)    SIR-08-P1(常开常闭)
    检测孔径    3mm    5mm   6mm   8mm
    最小检测体    0.5mm    0.8mm   1mm   1.5mm
    检测物体    磁性金属
    灵敏度调节    多圈精密电位器
    检测方式    自由落体or吹气式
    脉冲展宽    内置固定脉冲扩展150ms
    响应时间    小于0.5ms
    电源电压    DC12~24V纹波(P- P)10%以下(DC10~30V)
    控制输出    负载电流200mA以下(电压降小于2V)
    泄漏电流    0.8mA以下
    动作形态    NO:常开,NC:常闭
    显示灯    双色指示灯(红、绿)
    保护回路    浪涌保护回路|短路保护|极性反接保护
    环境温度    动作时:-25-70℃(不结冰,不结露)
    环境湿度    动作时、保存时:各35-95%RH(不结露)
    温度的影响    温度范围-25-+70℃ , 每变化20°时,检测距离±10%以内变化
    电压的影响    额定电源电压范围⼟15%以内波动时,检测距离⼟1%以内变化
    绝缘阻抗    50MΩ以上(DC500兆欧表)充电部与外壳间
    耐电压    AC1000V      50V60Hz 1min充电部与外壳间
    耐振动    10-55Hz上下振幅1.5mmX、Y、Z各⽅向2h
    耐冲击    500m/S²X、Y、Z各⽅向10次
    连接⽅式    导线引出型(标准导线⻓2m)特殊(可订制PUR)拖链线缆
    外壳材料    外壳材质PBT强化塑胶
    防护等级    Ip67
接线及尺寸图

image.png

image.png

扫一扫,添加微信


扫一扫,添加QQ

热线电话:

139 2295 2859 东莞市新亿科电子科技有限公司 东莞市长安镇沙头振安中路332号明珠大厦2001室 1846059898@qq.com
Copyright © 2012-2025 东莞市新亿科电子科技有限公司 版权所有  网站备案号:粤ICP备2022002522号